
APA102内置IC灯珠产品信息
名称: APA102C
品牌: 阶新科技(IC为台北金建供)
货号:APA102
颜色:RGB
APA102内置IC灯珠产品特点
APA102为RGB三色LED 调光控制串接IC,使用CMOS制程,提供RGB三色LED输出驱动
与 256级灰階调整输出以及32级亮度调整,APA102采用双线输出方式,借由同步的CLK
讯号,使串接各晶片之输出动作同步。
APA102内置IC灯珠产品规格
|
产品型号 |
颜色 |
流明 |
刷新率 |
输入 电压 |
消耗 功率 |
可视 角度 |
重量(g) |
尺寸(mm) 长*宽*高 |
操作温度 (摄氏度) |
|
SUPER LED |
全彩 16777216 |
R 340-450mcd G 260-770mcd B 40-280mcd |
400 cycle |
5VDC |
0.2W (MAX:1W) |
水平:160 |
0.1 |
5*5*1.4 |
-20~50 |
APA102内置IC灯珠产品特性说明
1、CMOS制程、低压、低耗电
2、双线同步控制
3、可选择正输出或负输出
4、RGB三色LED输出,8 Bit(256级)色彩设定,5 Bit(32级)色彩设定,5 Bit(32级)亮度调整
5、内建20mA定电流输出
6、具备信号自我检测功能
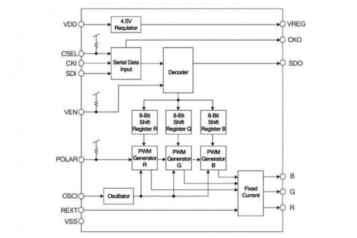
APA102内置IC灯珠脚位说明
|
NO. |
PIN NAME |
I/O |
FUNCTION |
|
1 |
VDD |
P |
电源正端 |
|
2 |
VREG |
O |
4.5V稳压输出 |
|
3 |
CKO |
O |
串接时脉信号输出端 |
|
4 |
SDO |
O |
串接资料输出端 |
|
5 |
VEN |
I |
自我检测功能选择 |
|
6 |
CSEL |
I |
串接时脉信号反向选择 |
|
7 |
POLAR |
I |
正负输出选择 |
|
8 |
OSCI |
I |
振荡输入端 |
|
9 |
SDI |
I |
串接资料输入端 |
|
10 |
CKI |
I |
串接时脉信号输入端 |
|
11 |
PEXT |
I |
定电流源调整端 |
|
12 |
VSS |
P |
电源负端 |
|
13 |
G |
O |
绿光LED输出端 |
|
14 |
R |
O |
红光LED输出端 |
|
15 |
B |
O |
蓝光LED输出端 |
APA102内置IC灯珠功能方块图

APA102内置IC灯珠主要应用领域
● LED全彩发光字灯串,LED全彩模组,LED幻彩软硬灯条,LED护栏管,LED外观/情景照明等
● LED点光源,LED像素屏,LED异形屏,各种电子产品,电器设备跑马灯等。
APA102内置IC灯珠实物图片




