- 联系人:古生
原边反馈单级有源PFC LED驱动芯片HB5810
功能特性简述
l 单级PFC转换实现>0.90的功率因数校正
l 原边反馈电流控制,无需次级光耦反馈电路
l 超低启动电流(典型值12uA)
l 0.8A/1.6A的MOSFET驱动能力
l 电流临界连续模式实现低开关损耗
l LED短路和开路保护
l 逐周期原边电流限流
l 输出过流快速钳位COMP电压
l 芯片供电过压和欠压保护
l 芯片过温保护
l 自动重启功能
l ISEN上电短路检测
l 栅驱动电压钳位11V,降低开关损耗
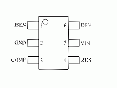
l 采用TSOT23-6封装,极简的外围应用。
应用
l GU10/E27 LED球泡灯、射灯
l LED PAR30、PAR38灯
l LED 日光灯
l 其他LED照明
概述
HB5810是一款单级、带有源功率因数校正的高精度原边反馈LED恒流控制芯片,适用于85VAC-265VAC全范围输入电压的反激式隔离LED电源。由于工作在电感电流临界连续模式,功率MOS管处于零电流开通状态,开关损耗得以减小,同时提高了变压器的利用率。采用恒定导通时间工作模式实现了外围电路的简化和高的功率因数校正。芯片提供多重保护检测功能可实现高可靠性LED照明系统。


